因克斯推出三款人形机器人关键零部件,涵盖灵巧手、关节模组和智能电池,形成完整动力系统解决方案,推动核...
2025年1-11月中国乘用车出口呈现结构性分化,传统燃油与新能源并行发展。出口市场区域格局调整,墨...
图达通通过全矩阵激光雷达产品推动物理AI在自动驾驶及机器人领域的落地,覆盖L3以上智能驾驶与无人配送...
Genie Sim 3.0通过五大核心亮点革新具身智能研发范式,提供全流程闭环解决方案,加速模型训练...
安波福通过边缘计算与AI技术实现设备实时感知与性能优化,拓展至交通、机器人等领域,其新一代ADAS平...
现代汽车集团发布人工智能机器人战略,聚焦物理AI技术发展,通过人机协作与技术创新,计划到2028年实...
AMD全新Ryzen AI嵌入式处理器通过集成Zen 5架构、RDNA 3.5 GPU与XDNA 2...
新一代3D座舱感知映射技术通过实时监控乘客行为,显著提升车辆安全性和驾驶体验,为汽车制造商提供创新解...
VESA最新DP AE 1.1规范通过软件仿真器强化汽车显示安全,整合四大配置文件实现多层保护,满足...
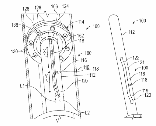
通用汽车最新专利(US 2025/0361920 A1)展示了自适应减震器的机械式调节技术,由印度工...
傅利叶智能CES展会上推出GR-3人形机器人,通过多模态交互系统实现自然人机互动,展现情感陪伴与全天...
通用汽车最新专利展示可调节座椅系统,通过气囊与泡沫材料结合实现尺寸和舒适度智能调节,为驾乘者提供个性...
东风纳米06以创新设计和智能驾驶系统引发关注,搭载401km续航与3C快充技术,兼具实用性与科技感,...
岚图FREE+搭载华为乾崑智驾ADS4与鸿蒙座舱5,以智能化配置重新定义中大型SUV市场,21寸光影...
奇瑞iCar V23在2025上海车展推出多款新车色及皮卡、敞篷概念版,售价10.98-14.98万...
岚图梦想家山河在2025上海车展开启预售,搭载华为乾崑智驾系统与空气悬架,配备星河流光穹顶、零重力座...
小鹏P7+搭载5C超充AI电池与智能可变阻尼减震系统,实现超长续航与精准操控。新车以20.88万元售...
红旗H9 PHEV以全新设计语言和智能驾驶辅助系统,融合混动技术与豪华座舱体验,树立C级行政轿车新标...
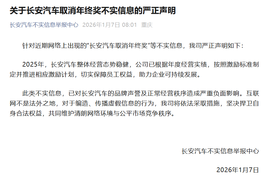
长安汽车澄清取消年终奖为不实信息,明确激励计划已执行,员工权益保障方案将于2月10日前发放,回应网络...
全球汽车市场在政策推动和技术创新下呈现复苏迹象,销量回升与企业竞争态势引人关注,同时自动驾驶和电动化...