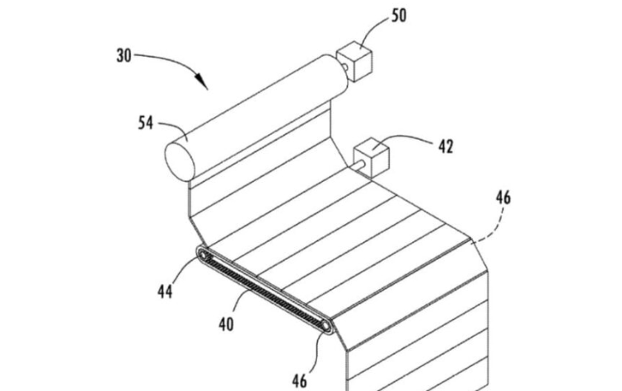
福特汽车申请可卷曲乘客显示系统专利,柔性屏幕能像窗帘一样收纳,既可作遮阳帘又可变身为移动娱乐屏。该技...
比亚迪正式申请加入全球智慧物联网联盟,将结合自身智能汽车优势与联盟资源,共同制定人车家全场景互联标准...
英飞凌与联想集团深化合作,联想自动驾驶域控制器将采用英飞凌AURIX系列微控制器,支持高级驾驶辅助系...
比亚迪第1500万辆新能源汽车正式下线,11月销量达480186辆创年内新高。海外市场表现亮眼,当月...
全球汽车技术迎来多项突破,包括6G无线收发器、mini-LED显示技术、V2X收费方案等创新应用。这...
随着智能驾驶向L3及以上阶段发展,仿真验证能力成为产业核心基础能力。51Sim以53.5%市场份额位...
大界机器人成功获得数亿元D轮融资,资金将用于工业具身智能技术研发和市场拓展。公司凭借自主开发的RoB...
奇瑞瑞虎7L车型官图正式发布,采用自然力量美学设计语言,配备V型格栅、贯穿式尾灯等时尚元素,计划20...
江西省2026年消费品以旧换新政策正式实施,汽车板块迎来重磅升级。报废旧车购买新能源乘用车最高可享受...
比亚迪海洋网全新旗舰轿车海豹08即将迎来全球首秀,该车型定位中大型轿跑,搭载兆瓦闪充、后轮转向、智能...
岚图梦想家即将迎来第20万辆整车下线里程碑,同步推出搭载华为乾崑智驾的冠军版车型。新车预售价31.9...
特斯拉在法国、挪威等欧洲核心市场表现回暖,2月新车注册量大幅增长,重新夺回市场领先地位。通过产品优化...
iCAR V27搭载地平线HSD全场景辅助驾驶系统,配备征程6P芯片提供560TOPS算力,支持激光...
比亚迪在全球电动车市场表现强劲,已在22个国家和地区销量超越特斯拉,2025年登顶全球电动车销量冠军...
奇瑞集团2月出口汽车124929辆,累计出口超609万辆,成为中国首个突破600万辆出口里程碑的品牌...
RemotiveLabs与Vayavya Labs合作将CARLA驾驶模拟器集成到RemotiveT...
特斯拉格林海德工厂面临严峻产能危机,当前利用率仅50%,2024年产量远低于设计产能。表面的劳资争议...
针对固态电池产业发展面临的标准体系不完善、核心技术工程化滞后等挑战,人大代表提出加快完善标准体系、聚...
随着中东地缘冲突升级,伊朗车市从百万量级"孤岛市场"转向全面冻结状态。中国车企在该市场的战略布局面临...
长安汽车2月销量151922辆,虽同比下滑5.89%但环比增长12.8%实现回暖。新能源汽车销量42...