特斯拉申请新专利,拟将星链卫星天线集成至车辆内部
本站讯 据外媒报道,特斯拉已提交一项新专利,暗示该公司正计划将星链(Starlink)卫星接收器直接集成至其车辆中。然而特斯拉此举的目的目前尚不明确。
特斯拉汽车目前已经是全球联网程度最高的移动终端之一,其Autopilot数据采集、OTA升级、流媒体服务等核心功能均高度依赖蜂窝网络。然而蜂窝网络的覆盖范围存在局限。
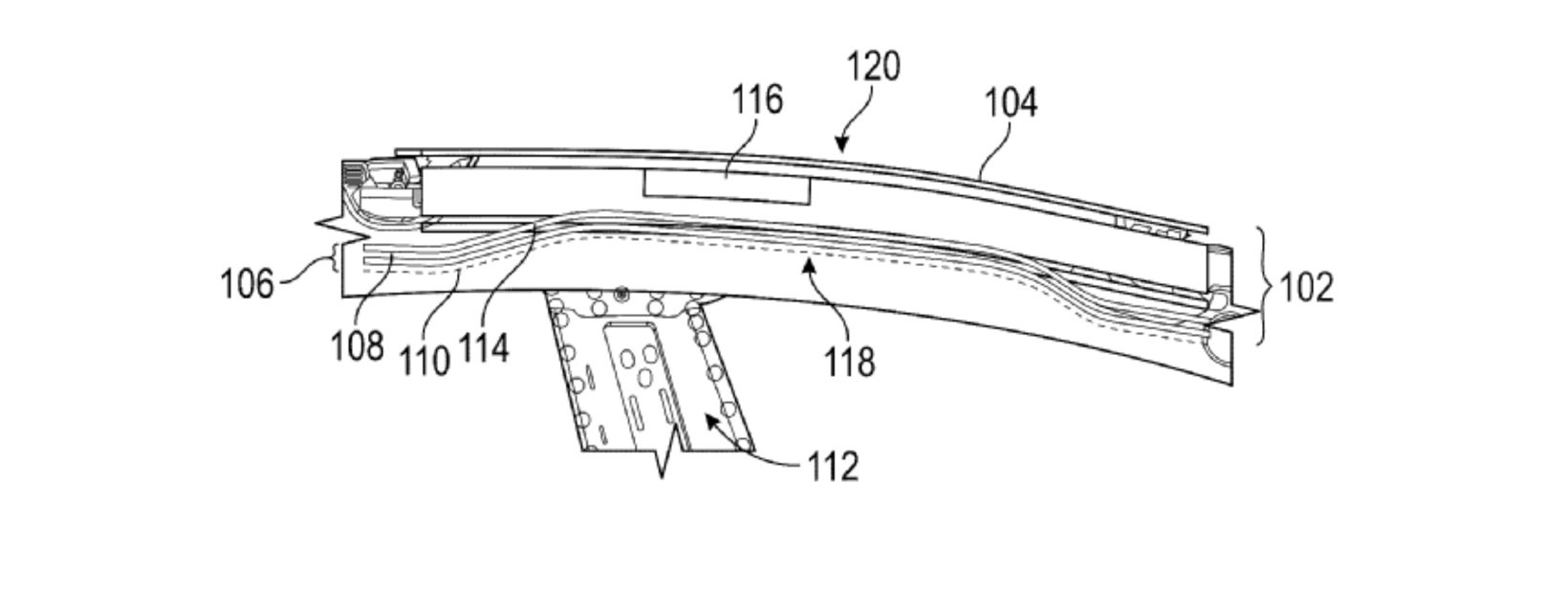
为了解决这一问题,特斯拉提交了一份新的专利。这项名为“射频可穿透材料车顶组件”(Vehicle Roof Assembly with Radio Frequency Transparent Material)的专利,描述了一种旨在允许卫星信号穿透的新型车顶结构设计。
图片来源:特斯拉
专利申请指出,传统汽车玻璃与金属车顶通常会阻挡或衰减卫星信号,导致天线难以隐藏于车厢内部。特斯拉的解决方案是采用具有“射频(RF)可穿透”特性的特殊聚合物复合材料,例如聚碳酸酯或丙烯腈-苯乙烯-丙烯酸酯共聚物。
专利明确指出,该组件的设计支持“将天线直接集成至车顶结构中,从而实现与外部设备及卫星的清晰通信”。
以下为专利图纸,展示了在保证结构完整性的同时隐藏天线的多层车顶设计:
图片来源:特斯拉
尽管专利文件并未直接提及“星链”(因为专利文件通常不具体标注商业产品名称),但其指向性已十分明确。作为SpaceX旗下的卫星互联网服务,星链是一种高带宽、低延迟卫星网络,完全能够满足特斯拉车辆所需的数据传输需求。
目前已有特斯拉车主为满足野外露营需求,自行加装星链迷你终端。而此项专利则预示着特斯拉或将推出原厂集成方案,并使天线完全隐匿于车顶内衬之中。
这意味着特斯拉车辆未来将能根据网络覆盖状况,在5G蜂窝网络与星链卫星网络间无缝切换,确保车辆始终在线
声明:如有信息侵犯了您的权益,请告知,本站将立刻删除。


